Доставка
- Курьером по СПб. При заказе от 10 т.р - бесплатно.
- доставка курьерской службой "СДЭК"
- самовывоз с пунктов выдачи заказов "СДЭК"
- транспортными компаниями "Деловые Линии", "ПЭК".
Самовывоз
Адрес: Санкт-Петербург, ш. Революции, д.69,Литер Б
Время работы: ПН-ПТ с 10:00 до 18:00
Онлайн
Оплаты банковской картой онлайн. После оформления заказа с Вами свяжется менеджер для уточнения деталей заказа, после чего на Ваш E-mail высылается ссылка на страницу оплаты.
Оплата по счету
Счета выставленные для юридических лиц при оформлении заказа актуальны в течение 3 дней. Резервирование товара на длительный срок оговаривается отдельно с менеджером. Цена включают НДС.
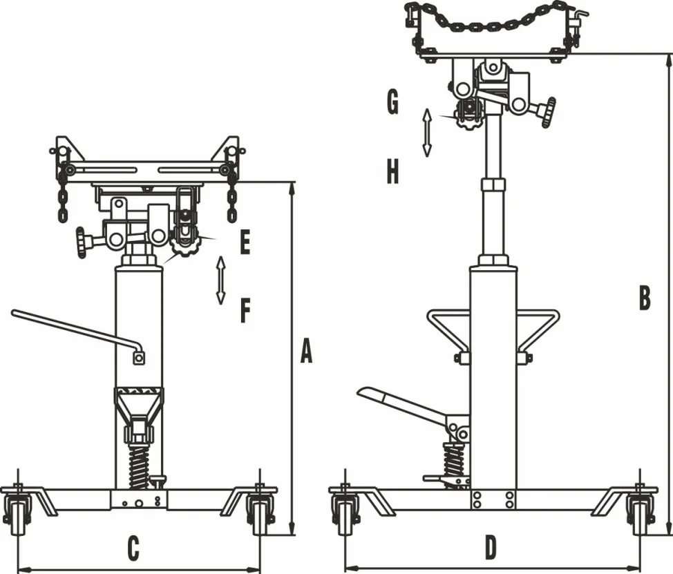
Стойка трансмиссионная Описание:
Стойка оснащена универсальным суппортом с регулируемыми угловыми кронштейнами и предохранительными цепями.
Хромированная поверхность шток поршня обеспечивает защиту от коррозии.
Прочная сварная конструкция предотвращает протечки гидравлической жидкости в случае деформации или разрушения.
Гидравлический насос с ножным приводом обеспечивает контроль подъема агрегата.
Широкое основание с поворотными колесами на шарнирах (диаметр 80 мм.) обеспечивает стабильность и надежность конструкции.
Стойка оснащена клапаном контроля перегрузки, который не позволяет превышать номинальную нагрузку.
Педаль может быть сложена, что исключает возможность нанесения травмы оператору во время перемещения стойки.
Педаль оснащена автоматическим пружинным фиксатором, который способствует плавному опусканию груза.
Телескопическая конструкция обеспечивает удобство транспортировки.
Специальный двухступенчатый поршень обеспечивает быстрое поднятие груза.
Система с клапаном контроля перегрузки обеспечивает возвращение на первую ступень при подъеме более 200 кг.
Технические характеристики:
Грузоподъемность: 500 кг;
Высота: 875 мм;
Высота с максимальным ходом цилиндра: 1800 мм;
Колесная база (мин.): 598 мм;
Колесная база (макс.): 728 мм;
Угол наклона площадки, влево: 20°;
Угол наклона площадки, вправо: 10°;
Угол наклона площадки, вперед: 24°;
Угол наклона площадки, назад: 19°;
Габаритные размеры: 900×500×220 мм.
Вес: 74 кг.
Стойка трансмиссионная телескопическая гидравлическая, грузоподъемность 0.5т купить на сайте официального представителя в интернет-магазине Магазин «JTC СПб». На весь ассортимент есть необходимые сертификаты качества и действует гарантия поставщика. Цена указана за 1 шт. Оптовым покупателям дополнительные скидки.
Чтобы купить Стойка трансмиссионная телескопическая гидравлическая, грузоподъемность 0.5т, добавьте нужное количество в корзину. Перейдите на страницу корзины и заполните форму заказа. Если необходима консультация, позвоните по тел. +7 (812) 339-21-30 или закажите обратный звонок на сайте и наш менеджер свяжется с Вами в удобное для Вас время.

